收单机构排名_培训机构图片(2)
作者: 来源: 时间:2021年07月23日
尼尔森 2019年全球POS与收单市场一览 亚太榜首易主
长期使用同一台POS机养卡,一定要注意的几个问题
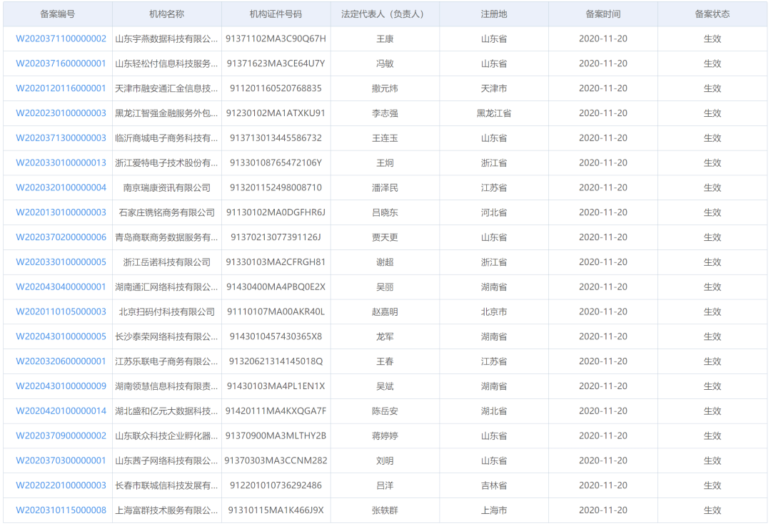
刚刚 34家机构通过聚合支付备案
收单机构前10名,你手里的pos上榜了吗 仅剩33 28家一清收单机构
406款无卡信用卡代还APP跑路,刷卡不到账已被列入银联黑名单
最新公示 全国仅存的61家正规收单机构,你用的是哪家
已完成上市辅导 最大收单机构银联商务上市倒计时
第二批374家机构完成收单外包服务机构备案
新一批18家银联认证收单外包机构曝光
第二批374家机构完成收单外包服务机构备案
原来信用卡肉这么肥,怪不得银行天天给你发短信叫你办理
最新一期的第三方支付机构3位代码表
7月份招行天书变厚好多,某收单机构准备与招行死磕
网曝支付机构10月份交易量排名,这7家支付公司有望登顶万亿俱乐部
延伸阅读:
| 手机cpu性能排行_手机cpu性能排行榜2023-08-04 |
| 佛祖的排名_佛教佛祖排名一览表2021-08-20 |
| 伦理片排名_2017年伦理片免费观看2021-07-24 |
| 火山主播排名_小火山主播揪痧视频2021-08-21 |
| 步兵女神排行_业界十位岛国知名步兵女神2023-09-06 |
| 环太平洋机甲排名_环太平洋机甲图片2021-08-21 |
| gv排名_日本gv男演员名字大全2021-07-23 |
| 乳量排名_神奇宝贝乳量排名图片2021-09-18 |
| 姓叶排名_姓叶的微信头像图片2021-09-19 |
| 斗鱼土豪排名_斗鱼主播祖祖土豪定制2021-09-20 |
新榜速递
最新专题











