收单机构排名_培训机构图片(3)
作者: 来源: 时间:2021年07月23日
4838家收单外包服务机构评级公布,快看你家上榜了吗
又有支付巨头要来A股
速查 中国支付清算协会公布6561家收单外包服务机构评级
4838家收单外包服务机构评级公布,快看你家上榜了吗
信用卡积分规则生变 一批收单机构被银行 拉黑
4838家收单外包服务机构评级公布,快看你家上榜了吗
尼尔森2016全球收单排行榜出炉 银联商务排名大幅跃升4位
支付 不变的产品逻辑,改变的业务未来
4838家收单外包服务机构评级公布,快看你家上榜了吗
移动支付APP排行 你用过哪几款
全国手刷用户突破千万 手刷用户量排行榜遭曝光
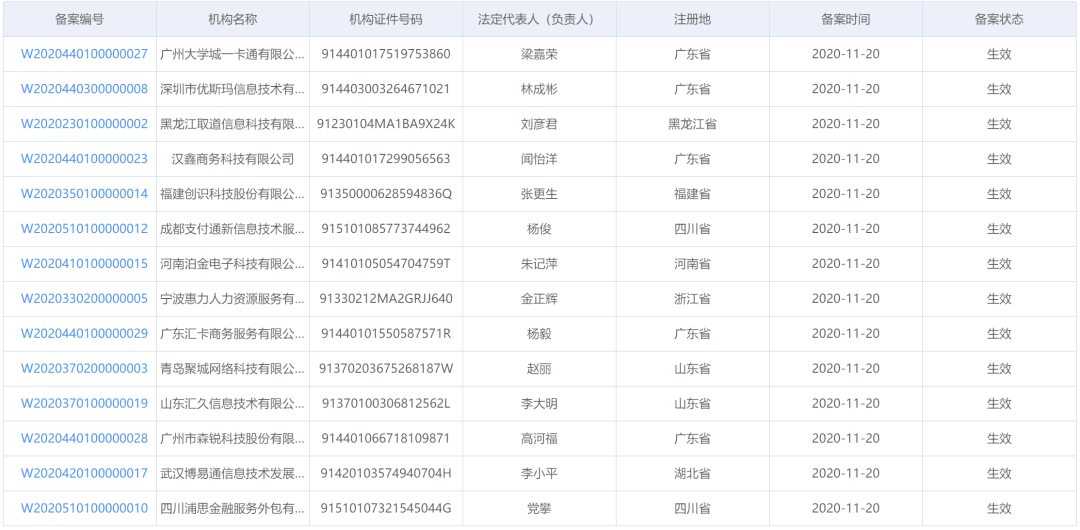
第二批374家机构完成收单外包服务机构备案
银联商务估值从180亿 突降至95亿,它怎么了
延伸阅读:
| 手机cpu性能排行_手机cpu性能排行榜2023-08-04 |
| 佛祖的排名_佛教佛祖排名一览表2021-08-20 |
| 伦理片排名_2017年伦理片免费观看2021-07-24 |
| 火山主播排名_小火山主播揪痧视频2021-08-21 |
| 步兵女神排行_业界十位岛国知名步兵女神2023-09-06 |
| 环太平洋机甲排名_环太平洋机甲图片2021-08-21 |
| gv排名_日本gv男演员名字大全2021-07-23 |
| 乳量排名_神奇宝贝乳量排名图片2021-09-18 |
| 姓叶排名_姓叶的微信头像图片2021-09-19 |
| 斗鱼土豪排名_斗鱼主播祖祖土豪定制2021-09-20 |
新榜速递
最新专题












